021-51699285
首页
关于我们
公司简介
关于品牌
荣誉资质
产品中心
A系列气源处理元件
IR系列精密减压阀
AC,BC系列气源处理元件
SFC系列气源处理元件
39系列气源处理元件
Q系列气源处理元件
自动放水器ZDPC
气动辅件
气动控制元件
气动执行元件
GS,GF系列压力表
SAR-200系列减压阀
XQ系列快排阀
新闻中心
公司新闻
行业动态
联系我们
产品展示
韩国三和PMR-220N7|韩国三和PMR电动机保护器
首页
/
产品中心
/
电子式电流继电器(AC)
电子式电流继电器(AC)
电子式电流继电器(DC)
电子式电压继电器(AC)
电子式电压继电器(DC)
其它保护和监视装置
电流互感器
最新产品
产品标题:韩国三和PMR-220N7|韩国三和PMR电动机保护器
产品ID:
VIB20090708211946734
品 牌:
韩国三和EOCR
所在地:中国 上海
价 格:面议 (大量采购价格面议)
库存状态:
货期待查
更新日期:2025-10-17 21:57:39
咨询电话:(+86)021-51699285
咨询Q Q:
519892866
产品简述
基于MCU的密集型设计
多保护功能
2~15%的电压不平衡设定
跳闸原因指示和故障原因的查找
手动/电动/自动复位
失效-安全方式工作
产品详情
韩国三和PMR 保 护
保护项目
动作(跳闸)时间
逆相
0.1秒
缺相
1秒
电压不平衡
5秒
韩国三和PMR 技术条件
控制电源
规格
范围
220
3相160~300VAC,50/60HZ
440
3相340~480VAC,50/60HZ
复位
手动(即时)/电动/自动复位(在电源正常条件下,5秒后自动复位)
继电器输出
型式
1-SPDT(1C)
负载
5A/250AC 电阻性
状态
常态被激励
安装
35mm道轨安装
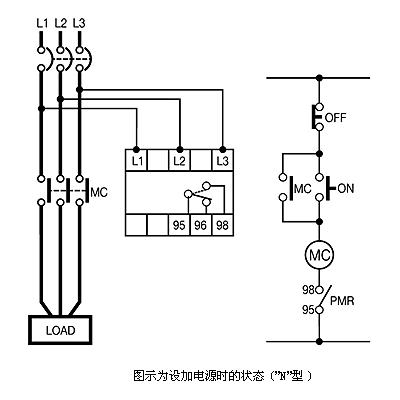
韩国三和PMR 典型参考图/接线图/安装尺寸图
型号名称
装箱数
价格
韩国三和PMR-220N7
10
询价
韩国三和PMR-440N7
10
询价
产品型号
双作用气缸 DSEU-40-100-P-A-MA
双作用气缸 DSEU-40-125-P-A-MA
双作用气缸 DSEU-40-160-P-A-MA
双作用气缸 DSEU-40-200-P-A-MA
双作用气缸 DSEU-40-250-P-A-MA
双作用气缸 DSEU-40-320-P-A-MA
双作用气缸 DSEU-20-10-P-A-MQ
双作用气缸 DSEU-20-25-P-A-MQ
双作用气缸 DSEU-20-40-P-A-MQ
双作用气缸 DSEU-20-50-P-A-MQ
双作用气缸 DSEU-20-80-P-A-MQ
双作用气缸 DSEU-20-100-P-A-MQ
双作用气缸 DSEU-20-125-P-A-MQ
双作用气缸 DSEU-20-160-P-A-MQ
前一页
韩国三和EGR-20NY7+ZCT-35 80 120|韩国三和EGR电动机保护器
后一页
韩国三和EGR-20NY7+ZCT-35 80 120|韩国三和EGR电动机保护器
产品中心
更多产品
MORE+
韩国三和EOCR-SP2 10R 110V,韩国三和EOCR-SP1/SP2电动机保护器
韩国三和EUCR-3C 60N 110D V|韩国三和EUCR-3C电动机保护器
韩国三和EOCR-SS
韩国三和EUCR-3C 05N 220D V|韩国三和EUCR-3C电动机保护器
韩国三和EUCR-3C 30N 220D V|韩国三和EUCR-3C电动机保护器
韩国三和EUCR-3C 60N 220D V|韩国三和EUCR-3C电动机保护器
韩国三和EUCR-3C 05N 110D V|韩国三和EUCR-3C电动机保护器
韩国三和EUCR-3C 30N 110D V|韩国三和EUCR-3C电动机保护器
双作用短行程气 ADVC-16-5-I-P
双作用短行程气 ADVC-16-10-I-P
双作用短行程气ADVC-16-15-I-P
双作用短行程气ADVC-16-20-I-P
电话:
021-51699285
传真:
021-51698592
手机:
13611905823
地址:上海市宝山区恒高路127弄6号楼2202室
首 页
关于我们
公司简介
品牌介绍
企业荣誉
产品中心
A系列气源处理元件
IR系列精密减压阀
AC,BC系列气源处理元件
SFC系列气源处理元件
39系列气源处理元件
Q系列气源处理元件
自动放水器ZDPC
气动辅件
气动控制元件
气动执行元件
GS,GF系列压力表
SAR-200系列减压阀
XQ系列快排阀
新闻中心
公司新闻
行业动态
联系我们